రోటరీ వసంత-శక్తివంతమైన ముద్రలలో, ప్రధానంగా రెండు రకాలు ఉన్నాయి: RC2055 మరియు RC2056. రూచెన్ సీల్స్ చాలా సంవత్సరాలుగా ముద్ర ఉత్పత్తుల అభివృద్ధి మరియు తయారీని అధ్యయనం చేస్తోంది. వేర్వేరు పరిస్థితులు మరియు విభిన్న అవసరాల ప్రకారం, ఇది మరింత వివరణాత్మక డిజైన్లను పరిపూర్ణంగా చేసింది.
RC2055 అనేది రోటరీ పాన్-ప్లగ్ ముద్ర, RC2055-B అనేది రోటరీ టూత్ సీల్, మరియు RC2055-C అనేది రోటరీ Y- ఆకారపు కలయిక ముద్ర. ముగ్గురి యొక్క పొడవైన కమ్మీలు పరస్పరం మార్చుకోగలవు. అవి అధిక-ఫంక్షన్ సీల్స్, ఇవి రొటేటింగ్ షాఫ్ట్లకు వర్తించే ఏకదిశాత్మక పీడనం. వాటిలో, RC2055 రోటరీ పాన్-ప్లగ్ ముద్ర స్టెయిన్లెస్ స్టీల్ స్ప్రింగ్స్ మరియు హై-ఫంక్షన్ ప్లాస్టిక్లతో కూడి ఉంటుంది. RC2055-B మరియు RC2055-C ను ఉపయోగిస్తున్నప్పుడు, సరిపోయే ఎలాస్టోమర్ పదార్థాలను సహేతుకంగా ఎంచుకోవడం అవసరం.
RC2056 అనేది రోటరీ పాన్-ప్లగ్ ముద్ర, మరియు RC2056-B అనేది రోటరీ Y- ఆకారపు కలయిక ముద్ర. పొడవైన కమ్మీలను కూడా పరస్పరం మార్చుకోవచ్చు. తిరిగే షాఫ్ట్లను ఉపయోగించడానికి కూడా ఇది అనుకూలంగా ఉంటుంది. వాటిలో, RC2056 రోటరీ పాన్-ప్లగ్ ముద్ర స్టెయిన్లెస్ స్టీల్ స్ప్రింగ్స్ మరియు హై-ఫంక్షన్ ప్లాస్టిక్లతో కూడి ఉంటుంది. RC2056-B ని ఉపయోగిస్తున్నప్పుడు మరియు, సరిపోయే ఎలాస్టోమర్ పదార్థాలను సహేతుకంగా ఎంచుకోవడం అవసరం.
ఉత్పత్తి లక్షణాలు మరియు అనువర్తనాలు:
ఉత్పత్తి లక్షణాలు:
అధిక పనితీరు: అద్భుతమైన సీలింగ్ పనితీరు మరియు మన్నికను నిర్ధారించడానికి స్టెయిన్లెస్ స్టీల్ స్ప్రింగ్స్ మరియు హై-ఫంక్షన్ ప్లాస్టిక్స్ కలిపి ఉంటాయి.
పరస్పర మార్పిడి
విస్తృతంగా వర్తిస్తుంది: విభిన్న పారిశ్రామిక అవసరాలను తీర్చడానికి తిరిగే షాఫ్ట్ల యొక్క వన్-వే ప్రెజర్ సీలింగ్కు అనువైనది.
ఐచ్ఛిక ఎలాస్టోమర్లు: RC2055-B, RC2055-C మరియు RC2056-B అనుకూలతను మెరుగుపరచడానికి పని పరిస్థితుల ప్రకారం సరిపోయే ఎలాస్టోమర్ పదార్థాల ఎంపికకు మద్దతు ఇస్తాయి.
అప్లికేషన్ దృశ్యాలు:
పారిశ్రామిక పరికరాలు, ఇంజనీరింగ్ యంత్రాలు, హైడ్రాలిక్ వ్యవస్థలు మొదలైన వాటికి తిరిగే షాఫ్ట్ల యొక్క వన్-వే ప్రెజర్ సీలింగ్ అనుకూలంగా ఉంటుంది.
పెట్రోకెమికల్స్, ఎనర్జీ ఎక్విప్మెంట్, హెవీ మెషినరీ వంటి అధిక-ఫంక్షన్ సీలింగ్ అవసరమయ్యే సందర్భాలు.
సాంకేతిక ప్రయోజనాలు:
స్టెయిన్లెస్ స్టీల్ స్ప్రింగ్స్ దీర్ఘకాలిక సీలింగ్ ప్రభావాన్ని నిర్ధారించడానికి స్థిరమైన రేడియల్ శక్తిని అందిస్తాయి.
అధిక-ఫంక్షన్ ప్లాస్టిక్స్ మరియు ఎలాస్టోమర్ పదార్థాల కలయిక అధిక పీడనం మరియు అధిక వేగంతో పని పరిస్థితులకు అనుకూలంగా ఉంటుంది.
గాడి మార్చుకోగలిగిన డిజైన్ సంస్థాపన మరియు నిర్వహణను సులభతరం చేస్తుంది మరియు ఉపయోగం యొక్క ఖర్చును తగ్గిస్తుంది.
వినియోగ సూచనలు:
నిర్దిష్ట పని పరిస్థితుల ప్రకారం తగిన సీల్ మోడల్ మరియు ఎలాస్టోమర్ పదార్థాలను ఎంచుకోండి.
ముద్రకు నష్టం జరగకుండా సంస్థాపన సమయంలో గాడి శుభ్రంగా ఉందని నిర్ధారించుకోండి.
RC2055
వర్తించే పని పరిస్థితులు (పరిమితి విలువలు ఒకే సమయంలో కనిపించకూడదు)
| ఒత్తిడి (Mpa) | ఉష్ణోగ్రత (℃ ℃) | వేగం (m/s) | మధ్యస్థం | |||
| ≤35 | RC2055 | RC2055-B/C | RC2055 | RC2055-B | RC2055-C | దాదాపు అన్ని ద్రవ మరియు గ్యాస్ మీడియా |
| -200 ~+250 | -35 ~+250 | <2m/s | <6m/s | <2m/s | ||
పదార్థ ఎంపిక
1. మ్యాచింగ్ ఓ-రింగ్ పదార్థాలను ఎంచుకోవచ్చు: RO1 నైట్రిల్ రబ్బరు (NBR), RO2 ఫ్లోరోరబ్బర్ (FKM), మొదలైనవి.
2. సీలింగ్ రింగ్ మెటీరియల్స్: PTFE1, PTFE2, PTFE3, PTFE4, UPE, PK1, PK2, Etc.
3. స్టెయిన్లెస్ స్టీల్ స్ప్రింగ్: వి-ఆకారపు వసంత.
ఆర్డర్ ఉదాహరణ
RC2055- 40-PTFE4+V షాఫ్ట్ వ్యాసం 40, సీలింగ్ రింగ్ మెటీరియల్ PTFE4, స్టెయిన్లెస్ స్టీల్ స్ప్రింగ్ V- ఆకారపు వసంతం
RC2055-B-40-PTFE4+R02 షాఫ్ట్ వ్యాసం 40, సీలింగ్ రింగ్ మెటీరియల్ PTFE4, సరిపోలిక O- రింగ్ ఫ్లోరోరబ్బర్
RC2055-C-40-PTFE4+R02 షాఫ్ట్ వ్యాసం 40, సీలింగ్ రింగ్ మెటీరియల్ PTFE4, మ్యాచింగ్ ఓ-రింగ్ ఫ్లోరోరబ్బర్
స్పెసిఫికేషన్ పారామితి పట్టిక (పారామితి పరిధిలోని అన్ని లక్షణాలు అందుబాటులో ఉన్నాయి)
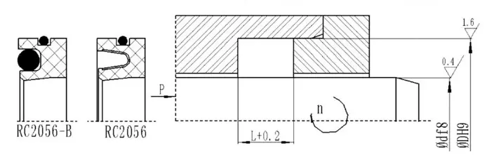
| రాడ్ వ్యాసం పరిధి d f8 | గాడి వ్యాసం DH9 | గాడి వ్యాసం D1H10 | అంచు లోతు ఎల్ 1 | గాడి వెడల్పు ఎల్ | దిగుమతి చామ్ఫర్ కె | రేడియల్ క్లియరెన్స్ ఎస్ గరిష్టంగా | చామ్ఫర్ పొడవు | r గరిష్టంగా | |
| 10mpa | 20mpa | ||||||||
| 5 ~ 19.9 | d+5 | d+9 | 0.85 -0.1 | 3.6 | 0.3 | 0.15 | 0.1 | Zmin = 0.8l | 0.8 |
| 20 ~ 39.9 | d+7 | D+12.5 | 1.35 -0.15 | 4.8 | 0.4 | 0.20 | 0.15 | 1.1 | |
| 40 ~ 400.9 | d+10.5 | D+17.5 | 1.8 -0.2 | 7.1 | 0.5 | 0.25 | 0.20 | 1.4 | |
| 401 ~ 1500 | d+14 | d+22 | 2.8 -0.2 | 9.5 | 0.5 | 0.30 | 0.25 | 1.6 | |
గమనిక: తిరిగే షాఫ్ట్ యొక్క ఉపరితల కాఠిన్యం HRC ≥ 58 గా ఉండాలని సిఫార్సు చేయబడింది.
RC2056
వర్తించే పని పరిస్థితులు (పరిమితి విలువలు ఒకే సమయంలో కనిపించకూడదు)
| ఒత్తిడి (Mpa) | ఉష్ణోగ్రత (℃ ℃) | వేగం (m/s) | మధ్యస్థం | ||
| ≤2 | RC2056 | RC2056-B | RC2056 | RC2056-B | దాదాపు అన్ని ద్రవ మరియు గ్యాస్ మీడియా |
| -200 ~+250 | -35 ~+250 | <14m/s | <6m/s | ||
పదార్థ ఎంపిక
1. మ్యాచింగ్ ఓ-రింగ్ పదార్థాలను ఎంచుకోవచ్చు: RO1 నైట్రిల్ రబ్బరు (NBR), RO2 ఫ్లోరోరబ్బర్ (FKM), మొదలైనవి.
2. సీలింగ్ రింగ్ మెటీరియల్స్: PTFE1, PTFE2, PTFE3, PTFE4, UPE, PK1, PK2, Etc. 3. స్టెయిన్లెస్ స్టీల్ స్ప్రింగ్: వి-ఆకారపు వసంత.
ఆర్డర్ ఉదాహరణ
RC2056-40*62*8-PTFE4+V D*D*L, సీలింగ్ రింగ్ మెటీరియల్ PTFE4, మరియు స్టెయిన్లెస్ స్టీల్ స్ప్రింగ్ V- ఆకారపు వసంతం RC2056-B-40*62*8-PTFE4+R02 D*D*L, సీలింగ్ రింగ్ మెటీరియల్ PTFE4, మరియు మ్యాచింగ్ ఓ-రింగ్ ఫ్లోరోరబ్బర్



















చిరునామా
No.1 రుయిచెన్ రోడ్, డాంగ్లియుటింగ్ ఇండస్ట్రియల్ పార్క్, చెంగ్యాంగ్ జిల్లా, కింగ్డావో సిటీ, షాన్డాంగ్ ప్రావిన్స్, చైనా
Tel
ఇ-మెయిల్