|
ఒత్తిడి/MPa |
ఉష్ణోగ్రత / °C |
వేగం /మీ/సె |
మధ్యస్థం |
|
≤40 |
-35~+100 (సరిపోయే NBR O-రింగ్లతో) |
≤2 |
హైడ్రాలిక్ ఆయిల్, ఎమల్షన్, నీరు, గ్యాస్ మొదలైనవి. |
-20~+200 (సరిపోయే O-రింగ్స్ FKMతో) |
1. తగిన O-రింగ్ మెటీరియల్లు: R01 నైట్రిల్ బుటాడిన్ రబ్బర్ (NBR), R02 ఫ్లోరోరబ్బర్ (FKM), మొదలైనవి.
2. సీలింగ్ రింగ్ పదార్థాలు: ప్రామాణిక పదార్థాలు PTFE3 మరియు PTFE4; ఇతర ఐచ్ఛిక పదార్థాలు PTFE1, PTFE2 మరియు PTFE5.
Ruichen ముడి పదార్థాల ప్రారంభం నుండి స్వతంత్ర పరిశోధన మరియు అభివృద్ధి మరియు ఉత్పత్తిని నిర్వహించింది, మొత్తం ఉత్పత్తుల గొలుసు నియంత్రణను గ్రహించింది.
1. ఇంజనీరింగ్ ప్లాస్టిక్స్ మరియు కాంపోజిట్ మెటీరియల్స్: మేము పాలిటెట్రాఫ్లోరోఎథిలిన్ (PTFE)ని మిక్సింగ్, సింటరింగ్ నుండి మోల్డింగ్ వరకు, అన్ని రకాల నింపిన మోడిఫైడ్ కాంపోజిట్ మెటీరియల్స్ ట్యూబ్ మరియు రాడ్ని స్వతంత్రంగా ఉత్పత్తి చేసి, ఆపై ప్రిసిషన్ ప్రాసెసింగ్ను సీల్స్గా తీసుకుంటాము. ఇది మెటీరియల్ లక్షణాల స్థిరత్వం మరియు అనుకూలీకరణను నిర్ధారిస్తుంది.
2. అధిక-పనితీరు గల పాలియురేతేన్ ఎలాస్టోమర్: మేము ప్రీపాలిమర్ కాస్టింగ్ నుండి ప్రారంభించాము, స్వతంత్రంగా అధిక-నాణ్యత గల పాలియురేతేన్ పైపు మరియు రాడ్ పదార్థాలను ఉత్పత్తి చేస్తాము మరియు వాటిని వివిధ రకాల సీల్స్గా ప్రాసెస్ చేస్తాము, ఇవి దుస్తులు నిరోధకత, ఒత్తిడి నిరోధకత మరియు జలవిశ్లేషణ నిరోధకతలో అత్యుత్తమమైనవి.
ఆర్డర్ ఉదాహరణ
ఆర్డరింగ్ మోడల్ RC2054—80×69×4.2—PTFE3—R01 మోడల్-D*d*L- మెటీరియల్ కోడ్ ఆర్డరింగ్ మోడల్ RCX18—80×69x4.2—HPU మోడల్-D*d*L- మెటీరియల్ కోడ్
స్పెసిఫికేషన్లు మరియు పారామితుల పట్టిక (పారామీటర్ పరిధిలో ఏదైనా స్పెసిఫికేషన్ అందుబాటులో ఉంది)
|
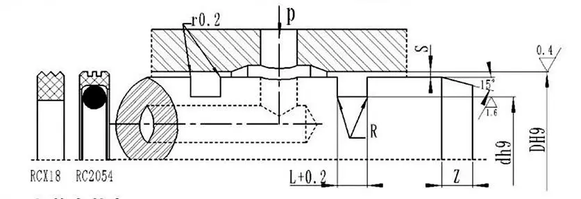
ఎపర్చరు పరిధి DH9 |
కందకం వ్యాసం dh9 |
కందకం వెడల్పు L+0.2 |
రేడియల్ క్లియరెన్స్ స్మాక్స్ |
గుండ్రని మూలలు Rmax |
చాంఫెర్ Zmin |
|
|
0~10Mpa |
10~20Mpa |
|||||
|
8~39 |
D-4.9 |
2.2 |
0.15 |
0.1 |
0.4 |
2 |
|
40~79 |
D-7.5 |
3.2 |
0.2 |
0.15 |
0.6 |
3 |
|
80~132 |
D-11.0 |
4.2 |
0.25 |
0.2 |
1.0 |
4 |
|
133~329 |
D-15.5 |
6.3 |
0.3 |
0.25 |
1.3 |
5 |
|
330~669 |
D-21.0 |
8.1 |
0.3 |
0.25 |
1.8 |
7 |
|
670~1500 |
D-28.0 |
9.5 |
0.45 |
0.3 |
2.0 |
8 |
|
D |
d |
L |
D |
d |
L |
D |
d |
L |
D |
d |
L |
|
8 |
3.1 |
2.2 |
50 |
42.5 |
3.2 |
170 |
154.5 |
6.3 |
380 |
359.0 |
8.1 |
|
10 |
5.1 |
2.2 |
55 |
47.5 |
3.2 |
180 |
164.5 |
6.3 |
390 |
369.0 |
8.1 |
|
12 |
7.1 |
2.2 |
60 |
52.5 |
3.2 |
190 |
174.5 |
6.3 |
400 |
379.0 |
8.1 |
|
14 |
9.1 |
2.2 |
63 |
55.5 |
3.2 |
200 |
184.5 |
6.3 |
420 |
399.0 |
8.1 |
|
15 |
10.1 |
2.2 |
65 |
57.5 |
3.2 |
210 |
194.5 |
6.3 |
450 |
429.0 |
8.1 |
|
16 |
11.1 |
2.2 |
70 |
62.5 |
3.2 |
220 |
204.5 |
6.3 |
480 |
459.0 |
8.1 |
|
18 |
13.1 |
2.2 |
75 |
67.5 |
3.2 |
230 |
214.5 |
6.3 |
500 |
479.0 |
8.1 |
|
20 |
15.1 |
2.2 |
80 |
69.0 |
4.2 |
240 |
224.5 |
6.3 |
520 |
499.0 |
8.1 |
|
22 |
17.1 |
2.2 |
85 |
74.0 |
4.2 |
250 |
234.5 |
6.3 |
550 |
529.0 |
8.1 |
|
24 |
19.1 |
2.2 |
90 |
79.0 |
4.2 |
260 |
244.5 |
6.3 |
600 |
579.0 |
8.1 |
|
25 |
20.1 |
2.2 |
95 |
84.0 |
4.2 |
270 |
254.5 |
6.3 |
630 |
609.0 |
8.1 |
|
28 |
23.1 |
2.2 |
100 |
89.0 |
4.2 |
280 |
264.5 |
6.3 |
650 |
629.0 |
8.1 |
|
30 |
25.1 |
2.2 |
105 |
94.0 |
4.2 |
290 |
274.5 |
6.3 |
670 |
642.0 |
9.5 |
|
32 |
27.1 |
2.2 |
110 |
99.0 |
4.2 |
300 |
284.5 |
6.3 |
700 |
672.0 |
9.5 |
|
35 |
30.1 |
2.2 |
115 |
104.0 |
4.2 |
310 |
294.5 |
6.3 |
750 |
722.0 |
9.5 |
|
36 |
31.1 |
2.2 |
120 |
109.0 |
4.2 |
320 |
304.5 |
6.3 |
800 |
772.0 |
9.5 |
|
38 |
33.1 |
2.2 |
125 |
114.0 |
4.2 |
330 |
309.0 |
8.1 |
1000 |
972.0 |
9.5 |
|
40 |
32.5 |
3.2 |
130 |
119.0 |
4.2 |
340 |
319.0 |
8.1 |
|
|
|
|
42 |
34.5 |
3.2 |
140 |
124.5 |
6.3 |
350 |
329.0 |
8.1 |
|
|
|
|
45 |
37.5 |
3.2 |
150 |
134.5 |
6.3 |
360 |
339.0 |
8.1 |
|
|
|
|
48 |
40.5 |
3.2 |
160 |
144.5 |
6.3 |
370 |
349.0 |
8.1 |
|
|
|
గమనిక: అవసరమైన స్పెసిఫికేషన్లు ఇక్కడ జాబితా చేయబడలేదు; దయచేసి మా కంపెనీని సంప్రదించండి. మేము గరిష్టంగా 2800mm వ్యాసం కలిగిన ఉత్పత్తులను అందిస్తాము.



చిరునామా
No.1 రుయిచెన్ రోడ్, డాంగ్లియుటింగ్ ఇండస్ట్రియల్ పార్క్, చెంగ్యాంగ్ జిల్లా, కింగ్డావో సిటీ, షాన్డాంగ్ ప్రావిన్స్, చైనా
Tel
ఇ-మెయిల్