|
ఒత్తిడి/MPa |
ఉష్ణోగ్రత / °C |
వేగం /మీ/సె |
మధ్యస్థం |
|
≤40 |
-35~+100 (NBR O-రింగ్తో) |
≤2 |
హైడ్రాలిక్ ఆయిల్, ఎమల్షన్, నీరు, గ్యాస్ మొదలైనవి. |
|
-20~+200 (FKM O-రింగ్తో) |
1. అందుబాటులో ఉన్న O-రింగ్ పదార్థాలు: R01 నైట్రిల్ బ్యూటాడిన్ రబ్బరు (NBR), R02 ఫ్లోరోరబ్బర్ (FKM), మొదలైనవి.
2. సీలింగ్ రింగ్ పదార్థాలు: ప్రామాణిక పదార్థాలు PTFE3 మరియు PTFE4; ఇతర ఐచ్ఛిక పదార్థాలు PTFE1, PTFE2 మరియు PTFE5.
ఆర్డర్ ఉదాహరణ
ఆర్డరింగ్ మోడల్ RC2052—80x91×4.2—PTFE3—R01 మోడల్-dxDxL- మెటీరియల్ కోడ్
ఆర్డరింగ్ మోడల్ RCX17—80x91×4.2—HPU మోడల్-dxDxL- మెటీరియల్ కోడ్
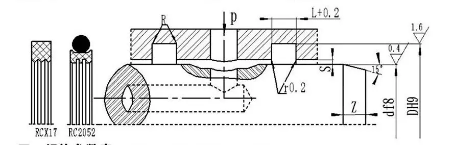
స్పెసిఫికేషన్లు మరియు పారామితుల పట్టిక (పారామీటర్ పరిధిలో ఏదైనా స్పెసిఫికేషన్ అందుబాటులో ఉంది)
|
షాఫ్ట్ వ్యాసం పరిధి d f8 |
కందకం వ్యాసం DH9 |
కందకం వెడల్పు L+⁰.2 |
రేడియల్ క్లియరెన్స్ స్మాక్స్ |
గుండ్రని మూలలు Rmax |
చాంఫెర్ Zmin |
|
|
0~10Mpa |
10~20Mpa |
|||||
|
6~18 |
d+49 |
2.2 |
0.15 |
0.1 |
0.4 |
2 |
|
19~37 |
d+7.5 |
3.2 |
0.2 |
0.15 |
0.6 |
3 |
|
38~199 |
d+11.0 |
4.2 |
0.25 |
0.2 |
1.0 |
4 |
|
200~255 |
d+15.5 |
6.3 |
0.3 |
0.25 |
1.3 |
5 |
|
256~649 |
d+21.0 |
8.1 |
0.3 |
0.25 |
1.8 |
7 |
|
650~1500 |
d+28.0 |
9.5 |
0.45 |
0.3 |
2.0 |
8 |
గమనిక: షాఫ్ట్ వ్యాసం ≤ 30mm కోసం, ఓపెన్ గ్రూవ్లు సిఫార్సు చేయబడ్డాయి.
|
d |
D |
L |
d |
D |
L |
d |
D |
L |
d |
D |
L |
|
8 |
12.9 |
2.2 |
48 |
59.0 |
4.2 |
150 |
161.0 |
4.2 |
350 |
371.0 |
8.1 |
|
10 |
14.9 |
2.2 |
50 |
61.0 |
4.2 |
160 |
171.0 |
4.2 |
360 |
381.0 |
8.1 |
|
12 |
16.9 |
2.2 |
55 |
66.0 |
4.2 |
170 |
181.0 |
4.2 |
370 |
391.0 |
8.1 |
|
14 |
18.9 |
2.2 |
60 |
71.0 |
4.2 |
180 |
191.0 |
4.2 |
380 |
401.0 |
8.1 |
|
15 |
19.9 |
2.2 |
63 |
74.0 |
4.2 |
190 |
201.0 |
4.2 |
390 |
411.0 |
8.1 |
|
16 |
20.9 |
2.2 |
65 |
76.0 |
4.2 |
200 |
215.5 |
6.3 |
400 |
421.0 |
8.1 |
|
18 |
22.9 |
2.2 |
70 |
81.0 |
4.2 |
210 |
225.5 |
6.3 |
420 |
441.0 |
8.1 |
|
20 |
27.5 |
3.2 |
75 |
86.0 |
4.2 |
220 |
235.5 |
6.3 |
450 |
471.0 |
8.1 |
|
22 |
29.5 |
3.2 |
80 |
91.0 |
4.2 |
230 |
245.5 |
6.3 |
480 |
501.0 |
8.1 |
|
24 |
31.5 |
3.2 |
85 |
96.0 |
4.2 |
240 |
255.5 |
6.3 |
500 |
521.0 |
8.1 |
|
25 |
32.5 |
3.2 |
90 |
101.0 |
4.2 |
250 |
265.5 |
6.3 |
520 |
541.0 |
8.1 |
|
28 |
35.5 |
3.2 |
95 |
106.0 |
4.2 |
260 |
281.0 |
8.1 |
550 |
571.0 |
8.1 |
|
30 |
37.5 |
3.2 |
100 |
111.0 |
4.2 |
270 |
291.0 |
8.1 |
600 |
621.0 |
8.1 |
|
32 |
39.5 |
3.2 |
105 |
116.0 |
4.2 |
280 |
301.0 |
8.1 |
630 |
651.0 |
8.1 |
|
35 |
42.5 |
3.2 |
110 |
121.0 |
4.2 |
290 |
311.0 |
8.1 |
650 |
678.0 |
8.1 |
|
36 |
43.5 |
3.2 |
115 |
126.0 |
4.2 |
300 |
321.0 |
8.1 |
670 |
698.0 |
9.5 |
|
38 |
49.0 |
4.2 |
120 |
131.0 |
4.2 |
310 |
331.0 |
8.1 |
700 |
728.0 |
9.5 |
|
40 |
51.0 |
4.2 |
125 |
136.0 |
4.2 |
320 |
341.0 |
8.1 |
750 |
778.0 |
9.5 |
|
42 |
53.0 |
4.2 |
130 |
141.0 |
4.2 |
330 |
351.0 |
8.1 |
800 |
828.0 |
9.5 |
|
45 |
56.0 |
4.2 |
140 |
151.0 |
4.2 |
340 |
361.0 |
8.1 |
1000 |
1028.0 |
9.5 |
గమనిక: అవసరమైన స్పెసిఫికేషన్లు ఇక్కడ జాబితా చేయబడలేదు; దయచేసి మా కంపెనీని సంప్రదించండి. మేము గరిష్టంగా 2800mm వ్యాసం కలిగిన ఉత్పత్తులను అందిస్తాము.





ఆల్ రౌండ్ ఇన్స్టాలేషన్ మరియు వినియోగ సూచనలు
సీల్స్ యొక్క పూర్తి పనితీరును నిర్ధారించడానికి సరైన ఇన్స్టాలేషన్ మొదటి అవసరం అని Rui చెన్కు తెలుసు, మేము ప్రతి ఉత్పత్తి యొక్క ఉపయోగంపై సమగ్ర మార్గదర్శకత్వం ఇస్తాము, ముఖ్యంగా సంక్లిష్టమైన లేదా ప్రామాణికం కాని కస్టమ్ భాగాలు, వివరణాత్మక గ్రాఫిక్ ఇన్స్టాలేషన్ గైడ్ ఉంటుంది.
ఈ గైడ్లు హై-డెఫినిషన్ స్టెప్-బై-స్టెప్ రేఖాచిత్రాలు మరియు ఇన్స్టాలేషన్కు ముందు తనిఖీ పాయింట్లు, సరైన ఇన్స్టాలేషన్ దశలు, అవసరమైన సాధనాలు మరియు మా ఇంజనీర్లు సైట్లో ఉన్నట్లుగా తప్పు ఆపరేషన్లను స్పష్టంగా చూపించే టెక్స్ట్ సూచనలతో పాటు ఉంటాయి. అదనంగా, సంక్లిష్టమైన అసెంబ్లీలు లేదా సిస్టమ్ల కోసం, మేము ప్రొఫెషనల్ వీడియో ట్యుటోరియల్లను సృష్టిస్తాము, ఇవి మీ ఆపరేటర్లను డైనమిక్ ప్రదర్శనల ద్వారా అకారణంగా మరియు త్వరగా ఇన్స్టాలేషన్ టెక్నిక్లు మరియు జాగ్రత్తలను నేర్చుకోవడానికి వీలు కల్పిస్తాము, సరికాని ఇన్స్టాలేషన్ కారణంగా ముందస్తు వైఫల్యం ప్రమాదాన్ని బాగా తగ్గిస్తుంది.
చిరునామా
No.1 రుయిచెన్ రోడ్, డాంగ్లియుటింగ్ ఇండస్ట్రియల్ పార్క్, చెంగ్యాంగ్ జిల్లా, కింగ్డావో సిటీ, షాన్డాంగ్ ప్రావిన్స్, చైనా
Tel
ఇ-మెయిల్