పీడన చర్య కింద తక్కువ పీడన వైపు అంతరం లోకి సీలింగ్ రింగ్ పిండి వేయకుండా నిరోధించడానికి O- రింగ్ లేదా స్టార్ రింగ్తో కలిపి నిలుపుకునే రింగ్ ఉపయోగించబడుతుంది. ఒత్తిడి పెరుగుతూనే ఉన్నందున, సీలింగ్ రింగ్ "ఎక్స్ట్రాషన్" ద్వారా దెబ్బతింటుంది మరియు చివరికి ముద్ర వేయడంలో విఫలమవుతుంది. నిలుపుకునే రింగ్ ఉపయోగించినట్లయితే, సీలింగ్ రింగ్ యొక్క "ఎక్స్ట్రాషన్" ని నివారించవచ్చు. అందువల్ల, నిలుపుకునే రింగ్ సీలింగ్ రింగ్కు అనుబంధం. ఇది ముద్ర కాదు, కానీ ఇది సీలింగ్ రింగ్ యొక్క పని పీడన పరిధిని పెంచుతుంది.
రిటైనింగ్ రింగ్ O- రింగ్తో కలిసి "ఎక్స్ట్రాషన్" నుండి నిరోధించడానికి, O- రింగ్ను సమర్థవంతంగా రక్షించడానికి, దాని సేవా జీవితాన్ని పెంచుతుంది మరియు పెద్ద సీలింగ్ అంతరాన్ని అనుమతిస్తుంది, తద్వారా ప్రాసెసింగ్ ఖర్చులను తగ్గిస్తుంది.
ఉత్పత్తి లక్షణాలు మరియు అనువర్తనాలు:
రింగ్ రూపం మరియు నిర్మాణ రకం నిలుపుకుంటుంది
సాంకేతిక డేటా
వర్కింగ్ ప్రెజర్: స్టాటిక్ సీల్ సుమారు 200mpa ని చేరుకుంటుంది (నిలుపుకునే రింగ్ యొక్క పదార్థం మరియు ముద్ర రకాన్ని బట్టి), రెసిప్రొకేటింగ్ సీల్ సుమారు 40MPA కి చేరుకుంటుంది. స్వింగ్/స్లో స్పీడ్ రొటేషన్ 15MPA కి చేరుకుంటుంది.
వేగం: పరస్పరం మరియు భ్రమణం సుమారు 2 మీ/సె (పదార్థాన్ని బట్టి) చేరుకోవచ్చు.
ఆర్డరింగ్ ప్రమాణాలు
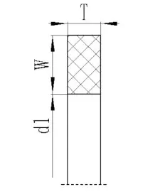
(1) T01 సిరీస్ రిటైనింగ్ రింగులు లోపలి వ్యాసం D1, వెడల్పు w మరియు మందంతో కూడి ఉంటాయి.
ఉదాహరణ: T01-00356 D1: 3.56*W: 1.35*T: 1.23
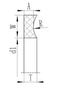
(2) T02 సిరీస్ రిటైనింగ్ రింగులు లోపలి వ్యాసం D1, వెడల్పు W, మరియు మందం A మరియు T.
ఉదాహరణ: T02-027 D1: 33.78*W: 1.35*A: 1.14*T: 1.24



చిరునామా
No.1 రుయిచెన్ రోడ్, డాంగ్లియుటింగ్ ఇండస్ట్రియల్ పార్క్, చెంగ్యాంగ్ జిల్లా, కింగ్డావో సిటీ, షాన్డాంగ్ ప్రావిన్స్, చైనా
Tel
ఇ-మెయిల్