రూచెన్ సీల్స్ యొక్క ప్రాథమిక హైడ్రాలిక్ సీల్స్ ప్రధానంగా అనేక రకాల ముద్రలను కలిగి ఉంటాయి, వీటిలో ఒక్కొక్కటి దాని స్వంత ప్రయోజనాలు ఉన్నాయి. O- రింగులను వివిధ డైనమిక్ మరియు స్టాటిక్ సీలింగ్ సందర్భాలలో విస్తృతంగా ఉపయోగిస్తారు, ఎందుకంటే వాటి తక్కువ తయారీ వ్యయం మరియు అనుకూలమైన ఉపయోగం. చాలా దేశాలు O- రింగుల కోసం ఉత్పత్తి ప్రమాణాల శ్రేణిని రూపొందించాయి, వీటిలో అమెరికన్ స్టాండర్డ్ (AS568), జపనీస్ స్టాండర్డ్ (JISB2401) మరియు అంతర్జాతీయ ప్రమాణం (ISO 3601/1) సర్వసాధారణం. జాతీయ ప్రమాణాలు GB3452.1 మరియు GB1235.
స్టార్ ఆకారపు సీల్ రింగ్ అనేది X- ఆకారపు ఆకారంతో నాలుగు-లిప్ ముద్ర, కాబట్టి దీనిని X- ఆకారపు రింగ్ అని కూడా అంటారు. ఇది ఓ-రింగ్ ఆధారంగా మెరుగుదల మరియు మెరుగుదల. దీని క్రాస్-సెక్షనల్ కొలతలు యుఎస్ యొక్క ఓ-రింగ్ 568A ప్రమాణం వలె ఉంటాయి మరియు ఇది ప్రాథమికంగా O- రింగ్ వాడకాన్ని భర్తీ చేస్తుంది.
స్టార్ రింగుల ప్రయోజనాలు
O- రింగులతో పోలిస్తే, స్టార్ రింగులు తక్కువ ఘర్షణ నిరోధకతను కలిగి ఉంటాయి మరియు తక్కువ ప్రారంభ నిరోధకతను కలిగి ఉంటాయి ఎందుకంటే అవి సీలింగ్ పెదవుల మధ్య సరళత కుహరాన్ని ఏర్పరుస్తాయి. దాని ఫ్లాష్ అంచు క్రాస్ సెక్షన్ యొక్క పుటాకార భాగంలో ఉన్నందున, సీలింగ్ ప్రభావం మంచిది. నాన్-సర్క్యులర్ క్రాస్ సెక్షన్ రెసిప్రొకేటింగ్ మోషన్ సమయంలో రోలింగ్ దృగ్విషయాన్ని సమర్థవంతంగా నివారిస్తుంది.
స్టార్ రింగ్ వర్కింగ్ మెకానిజం
స్టార్ రింగ్ అనేది స్వీయ-బిగించే డబుల్-యాక్టింగ్ సీలింగ్ మూలకం. రేడియల్ మరియు అక్షసంబంధ శక్తులు వ్యవస్థ యొక్క ఒత్తిడిపై ఆధారపడి ఉంటాయి. ఒత్తిడి పెరిగేకొద్దీ, స్టార్ రింగ్ యొక్క కుదింపు వైకల్యం పెరుగుతుంది, మరియు మొత్తం సీలింగ్ శక్తి పెరుగుతుంది, తద్వారా నమ్మకమైన ముద్ర ఏర్పడుతుంది.
స్టార్ ఆకారపు సీల్ రింగ్ను ఎలా ఎంచుకోవాలి
షాఫ్ట్ మరియు రంధ్రం యొక్క వ్యాసం తెలిస్తే, ఈ క్రింది ప్రమాణాల ప్రకారం తగిన నక్షత్ర ఆకారపు సీల్ రింగ్ను ఎంచుకోండి:
1. స్టాటిక్ సీలింగ్ లేదా రెసిప్రొకేటింగ్ లీనియర్ మోషన్: (1) రంధ్రం సీలింగ్: నక్షత్ర ఆకారపు రింగ్ యొక్క లోపలి వ్యాసం గాడితో అనుకూలంగా ఉండాలి లేదా గాడి దిగువ వ్యాసంలో 2% కన్నా తక్కువ ఉండాలి. ఎందుకంటే ప్రీ-కాంప్రెషన్ ద్వారా ఉత్పత్తి చేయబడిన ప్రీ-కాంప్రెషన్ ఫోర్స్ స్టార్ ఆకారపు సీల్ రింగ్ను మెలితిప్పిన మరియు రోలింగ్ నుండి సమర్థవంతంగా నిరోధించగలదు. . తత్ఫలితంగా, సీల్ రింగ్ వ్యవస్థాపించడం సులభం మరియు సుదీర్ఘ సేవా జీవితాన్ని కలిగి ఉంటుంది.
2. రోటరీ సీలింగ్: నక్షత్ర ఆకారపు రింగ్ యొక్క లోపలి వ్యాసం అది మూసివేసే షాఫ్ట్ యొక్క వ్యాసం కంటే 2 ~ 5% పెద్దదిగా ఉండాలి. ఎందుకంటే ముద్ర రింగ్ తిరిగే కదలికలో ఉపయోగించినప్పుడు ఘర్షణ మరియు వేడిని ఉత్పత్తి చేస్తుంది, మరియు వేడిచేసినప్పుడు రబ్బరు తగ్గిపోతుంది (జూల్ ప్రభావం). అందువల్ల, సీల్ రింగ్ సరళత మరియు విశ్వసనీయంగా పనిచేయగలదని నిర్ధారించడానికి, షాఫ్ట్ వ్యాసం కంటే పెద్ద లోపలి వ్యాసం కలిగిన నక్షత్ర ఆకారపు రింగ్ ఎంచుకోవాలి. సాధారణంగా, చిన్న క్రాస్-సెక్షన్ ఉన్న సీల్ రింగ్ స్టాటిక్ సీలింగ్ యొక్క అవసరాలను తీర్చగలదు. దీనికి విరుద్ధంగా, డైనమిక్ ముద్రను తీర్చడానికి పెద్ద క్రాస్ సెక్షన్ ఉన్న ముద్ర రింగ్ను ఎంచుకోవాలి. అధిక పీడనం లేదా పెద్ద అంతరాల విషయంలో, అధిక కాఠిన్యం ఉన్న రబ్బరు పదార్థాన్ని ఎంచుకోవాలి. అధిక పీడన వెలికితీత నష్టాన్ని నివారించడానికి PTFE నిలుపుకునే రింగ్ను జోడించడం ఉత్తమ మార్గం.
పూతతో ఓ-రింగ్ సేంద్రీయంగా రబ్బరు యొక్క స్థితిస్థాపకత మరియు సీలింగ్ను టెఫ్లాన్ యొక్క రసాయన నిరోధకతతో మిళితం చేస్తుంది. ఇది సిలికాన్ లేదా ఫ్లోరోరబ్బర్ లోపలి కోర్ మరియు సాపేక్షంగా సన్నని టెఫ్లాన్ ఫెప్ లేదా టెఫ్లాన్ పిఎఫ్ఎ బాహ్య పూతతో కూడి ఉంటుంది.
మెటీరియల్: టెఫ్లాన్ ఫెప్ మరియు టెఫ్లాన్ పిఎఫ్ఎ తప్పనిసరిగా సమానంగా ఉంటాయి, అయితే టెఫ్లాన్ పిఎఫ్ఎ టెఫ్లాన్ ఎఫ్ఇపి కంటే మెరుగైన ఉష్ణోగ్రత నిరోధకతను కలిగి ఉంది. వర్తించే ఉష్ణోగ్రత పరిధి టెఫ్లాన్ FEP షెల్: -60 ℃ ~ 205 the 260 at వద్ద ఉపయోగించవచ్చు teflon PFA షెల్: -60 ℃ ~ 260 ℃ 300 వద్ద 300 వద్ద ఉపయోగించవచ్చు తక్కువ సమయం ప్రయోజనాలు:
1. అత్యుత్తమ రసాయన నిరోధకత, దాదాపు అన్ని రసాయన మాధ్యమానికి అనువైనది
2. విస్తృత ఉష్ణోగ్రత పరిధి
3. మంచి కుదింపు నిరోధకత
4. యాంటీ ఫ్రిషన్
5. మంచి యాంటీ-కవచం
6. అధిక పీడన నిరోధకత
7. అద్భుతమైన సీలింగ్ మన్నిక మరియు సుదీర్ఘ సేవా జీవితం
అప్లికేషన్: పంపులు మరియు కవాటాలు, ప్రతిచర్య నాళాలు, మెకానికల్ సీల్స్, ఫిల్టర్లు, పీడన నాళాలు, ఉష్ణ వినిమాయకాలు, బాయిలర్లు, పైప్లైన్ ఫ్లాంగెస్, గ్యాస్ కంప్రెషర్లు మొదలైనవి.
అప్లికేషన్ పరిశ్రమలు: రసాయన పరిశ్రమ, విమాన తయారీ, ce షధ పరిశ్రమ, చమురు మరియు రసాయన రవాణా మరియు శుద్ధి, చిత్ర పరిశ్రమ, శీతలీకరణ ఇంజనీరింగ్, ఆహార ప్రాసెసింగ్ పరిశ్రమ, పేపర్మేకింగ్ పరిశ్రమ, రంగు తయారీ, పెయింట్ స్ప్రేయింగ్, మొదలైనవి.
సీలింగ్ రింగుల కోసం సంస్థాపనా సూచనలు
1. సీలింగ్ రింగులు వ్యవస్థాపించబడిన లేదా దాటిన భాగాలు మృదువైనవి, బర్ర్స్, పొడవైన కమ్మీలు మరియు పదునైన మూలలు లేకుండా ఉండాలి. లోపలి రంధ్రం యొక్క కరుకుదనం 1.6μ కు చేరుకోవాలి మరియు షాఫ్ట్ యొక్క కరుకుదనం 0.8um కు చేరుకోవాలి.
2. సీలింగ్ రింగ్ యొక్క ఉపరితలం మరియు సంబంధంలో ఉన్న సంబంధిత భాగాలను సరళత చేయడానికి క్లీన్ లైట్ ఆయిల్ లేదా గ్రీజును వర్తించండి.
3. షాఫ్ట్లో సీలింగ్ రింగ్ను వ్యవస్థాపించడం కష్టమైతే, దాన్ని విస్తరించడానికి కొన్ని నిమిషాలు వేడి నీటిలో ముంచెత్తండి. ఈ మృదువైన మరియు విస్తరించిన O- రింగ్ ఇన్స్టాల్ చేయడం సులభం. O- రింగ్ వేడిగా ఉన్నప్పుడు ఇన్స్టాల్ చేయండి మరియు దాని పరిమాణం చల్లబరుస్తున్న తర్వాత దాని అసలు పరిమాణానికి తిరిగి వస్తుంది.
4. ఓ-రింగ్ను చాలా హింసాత్మకంగా వంగకండి, లేకపోతే అది టెఫ్లాన్లో ముడతలు కలిగిస్తుంది మరియు దాని వాడకాన్ని ప్రభావితం చేస్తుంది.
పూతతో ఉన్న ఓ-రింగ్ యొక్క సిఫార్సు కుదింపు ఈ క్రింది విధంగా ఉంది:
స్టాటిక్ సీలింగ్ స్టేట్: 15%-20%
డైనమిక్ సీలింగ్ స్థితి: 10%-12%
న్యూమాటిక్ స్టేట్: 7%-8%
వాస్తవ కుదింపు పని పరిస్థితులను, ముఖ్యంగా సీలింగ్ పని ఒత్తిడి మరియు ఇతర అంశాలను పరిగణనలోకి తీసుకోవాలి.
ఉత్పత్తి లక్షణాలు మరియు అనువర్తనాలు:
| ఓ-రింగ్ పనితీరు పారామితి పట్టిక |
|
|
|
|
స్టాటిక్ సీల్ | డైనమిక్ ముద్ర |
| పని ఒత్తిడి | రింగ్ను నిలుపుకోకుండా, 20MPA మాక్స్ రిటైనింగ్ రింగ్, 40 MPa మాక్స్, స్పెషల్ రిటైనింగ్ రింగ్ 200MPA మాక్స్ | రింగ్ను నిలుపుకోకుండా, 5MPA మాక్స్ నిలుపుకున్న రింగ్ తో, అధిక పీడనం |
| వేగం | 0.5 మీ/సె గరిష్టంగా, 2 మీ/సె గరిష్టాన్ని తిప్పడం | |
| ఉష్ణోగ్రత | సాధారణ ఉపయోగం: -30 ~+110, ప్రత్యేక రబ్బరు: -60 ~+250, తిరిగేది: -30 ~+80 | |
| మధ్యస్థం | మెటీరియల్స్ విభాగం చూడండి | |
| ప్రామాణిక | ఓ-రింగ్ క్రాస్-సెక్షన్ వ్యాసం w |
|
|||||
| అమెరికన్ ప్రమాణం 568 బ్రిటిష్ స్టాండర్డ్ BS 1516 | 1.78 | 2.62 | 3.52 | 5.33 | 6.99 | - | |
| జపనీస్ స్టాండర్డ్ ఐటి బి 2401 | 1.9 | 2.4 | 3.1 | 3.5 | 5.7 | 8.4 | |
| అంతర్జాతీయ ప్రమాణం ISO 3601/1 జర్మన్ ప్రామాణిక DIN 3771/1 చైనీస్ ప్రామాణిక CB 3452.1 | 1.8 | 2.65 | 3.55 | 5.30 | 7.00 | - | |
| ఇష్టపడే మెట్రిక్ పరిమాణాలు | 1.0 | 1.5 | 2.0 | 2.5 | 3.0 | 3.5 | |
| 4.0 | 4.5 | 5.0 | 5.5 | 6.0 | 7.0 | ||
| 8.0 | 10.0 | 12.0 |
|
|
|
||
| అమెరికన్ ప్రమాణం 568 (900 సిరీస్) | 1.02 | 1.42 | 1.63 | 1.83 | 1.98 | 2.08 | |
| 2.21 | 2.46 | 2.95 | 3.00 |
|
|
|
|
| స్టార్ రింగుల అనువర్తన శ్రేణి చాలా విస్తృతంగా ఉంది. ఉష్ణోగ్రత, పీడనం మరియు మధ్యస్థం ప్రకారం సరైన పదార్థాన్ని ఎంచుకోండి. ఇచ్చిన అనువర్తనానికి స్టార్ రింగ్ను స్వీకరించడానికి, అన్ని పని పారామితుల మధ్య పరస్పర అడ్డంకులను పరిగణించాలి. అనువర్తన పరిధిని నిర్ణయించేటప్పుడు, గరిష్ట ఉష్ణోగ్రత, నిరంతర పని ఉష్ణోగ్రత మరియు ఆపరేటింగ్ చక్రం పరిగణించాలి. తిరిగే అనువర్తనాల్లో, ఘర్షణ వేడి వల్ల కలిగే ఉష్ణోగ్రత పెరుగుదల కూడా పరిగణించబడాలి. | |||||
| సాంకేతిక పారామితులు | డైనమిక్ ముద్ర | స్టాటిక్ సీల్ |
|
||
| పరస్పర కదలిక | భ్రమణ కదలిక |
|
|||
| పని ఒత్తిడి (Mpa) | ఉంగరాన్ని నిలుపుకోవడంతో | 30 | 15 | 40 |
|
| రింగ్ నిలుపుకోకుండా | 5 | - | 5 |
|
|
| వేగం | 0.5 | 2.0 | - |
|
|
| ఉష్ణోగ్రత (℃) | సాధారణ సందర్భాలు: -30 ℃ ~+110 |
|
|||
| ప్రత్యేక పదార్థాలు: -60 ℃ ~+200 |
|
||||
| భ్రమణ సందర్భాలు: -30 ℃ ~+80 |
|
||||
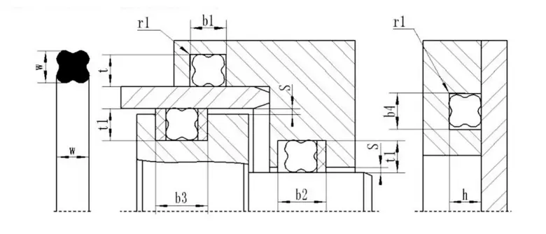
స్టార్ రింగ్ మెటీరియల్:
పదార్థం సాధారణంగా షా A70 నైట్రిల్ రబ్బరు NBR.
పూత ఓ-రింగ్:
ఎన్కప్సులేటెడ్ ఓ-రింగ్ యొక్క గాడి యొక్క స్కీమాటిక్ రేఖాచిత్రం
ఎన్కప్సులేటెడ్ ఓ-రింగ్ యొక్క గాడి యొక్క పరిమాణం పట్టిక (సిఫార్సు చేయబడింది)
| వైర్ వ్యాసం d | ఒక (మిమీ | B (mm) | ||
| స్టాటిక్ సీల్ | డైనమిక్ ముద్ర | న్యూమాటిక్ సీల్ | ||
| 1.78 | 2.36/2.49 | 1.42/1.52 | 1.55/1.60 | 1.63/1.65 |
| 2.62 | 3.56/3.68 | 2.08/2.21 | 2.29/2.36 | 2.39/2.44 |
| 3.53 | 4.75/4.88 | 2.82/3.00 | 3.10/3.18 | 3.22/3.28 |
| 5.33 | 7.14/7.26 | 4.27/4.52 | 4.67/4.80 | 4.90/4.95 |
| 6.99 | 9.63/9.65 | 5.59/5.89 | 6.15/6.27 | 6.43/6.48 |
రూచెన్ సీల్ పిటిఎఫ్ఇ సీల్ ఇన్స్టాలేషన్ గైడ్
. సంస్థాపనా గైడ్
1. పీడన దిశను ఎదుర్కొని, ప్రీలోడెడ్ వైపు ముద్రను వ్యవస్థాపించాలి.
2. సిలిండర్ బాడీ మరియు పిస్టన్ రాడ్ మా కంపెనీ నమూనాల అవసరాలను తీర్చగల పుష్-ఇన్ చామ్ఫర్లతో తయారు చేయాలి.
3. పదునైన అంచులు బర్ర్స్ లేకుండా ఉండాలి మరియు గుండ్రంగా లేదా చాంఫెర్డ్ చేయాలి.
4. థ్రెడ్లు, గైడ్ రింగ్ పొడవైన కమ్మీలు మొదలైనవి కవర్ చేయాలి, ఎందుకంటే ముద్రను పొడవైన కమ్మీలు, డ్రిల్లింగ్ రంధ్రాలు లేదా కఠినమైన ఉపరితలాల ద్వారా నెట్టడం సాధ్యం కాదు.
5. ఏదైనా దుమ్ము, శిధిలాలు లేదా ఇతర విదేశీ కణాలను జాగ్రత్తగా తొలగించాలి.
6. పదునైన అంచులతో ఉన్న సాధనాలను ఉపయోగించకూడదు.
7. పిటిఎఫ్ఇ సీలింగ్ రింగులు వేడిచేసిన నూనె లేదా నీటిలో (సుమారు 80 ~ 120 డిగ్రీలు) విస్తరించడం సులభం మరియు వాటి అసలు ఆకారానికి పునరుద్ధరించడం సులభం.
8. ముద్ర యొక్క పెదవి చమురు పీడన రంధ్రం గుండా వెళ్ళవలసి వస్తే, రంధ్రం యొక్క చామ్ఫర్ సీలింగ్ పెదవిని దెబ్బతీయకుండా నిరోధించడానికి ఒక ప్లాస్టిక్ కర్రను పెదవిని శాంతముగా నెట్టడానికి ఉపయోగించాలి. సిలిండర్ యొక్క రంధ్రాలను చాంఫెర్ చేయాలి. (మూర్తి 3)
. సంస్థాపనా పద్ధతి
ఓపెన్ (స్ప్లిట్) కమ్మీలను సాధనాలు లేకుండా వ్యవస్థాపించవచ్చు.
క్లోజ్డ్ గ్రోవ్ పిస్టన్ రాడ్ సీల్స్ యొక్క సంస్థాపన (మూర్తి 1)
1. అన్ని ముద్ర ఉపరితలాలు, ముద్రలు మరియు సంస్థాపనా సాధనాలను శుభ్రపరచండి మరియు నూనె చేయండి.
2. రబ్బరు ఉంగరాన్ని గాడిలో ఉంచండి (దానిని మలుపు తిప్పకుండా జాగ్రత్త వహించండి).
3. పిటిఎఫ్ఇ సీల్ రింగ్ను కిడ్నీ ఆకారంలోకి పంపండి, పాయింటెడ్ బెండ్ ఏర్పడకుండా, సంపీడన పిటిఎఫ్ఇ సీల్ రింగ్ను గాడిలో ఉంచండి మరియు చేతితో మెల్లగా చదును చేయండి.
4. రికవరీ మాండ్రెల్ను ముద్రకు నెట్టండి మరియు మాండ్రెల్ను శాంతముగా తిప్పండి. 1 నిమిషం వదిలి మాండ్రేల్ తొలగించండి. సంస్థాపన పూర్తయింది.
క్లోజ్డ్ పొడవైన కమ్మీలలో పిస్టన్ సీల్స్ యొక్క సంస్థాపన (మూర్తి 2)
1. అన్ని ముద్ర ఉపరితలాలు, ముద్రలు మరియు సంస్థాపనా సాధనాలను శుభ్రపరచండి మరియు నూనె చేయండి.
2. రబ్బరు ఉంగరాన్ని గాడిలో ఉంచండి (దానిని మలుపు తిప్పకుండా జాగ్రత్త వహించండి).
3. పిటిఎఫ్ఇ సీలింగ్ రింగ్ను గైడ్ స్లీవ్పైకి నెట్టి, సీలింగ్ రింగ్ను విస్తరించండి.
4. విస్తరించిన సీలింగ్ రింగ్ను పిస్టన్ గాడిలోకి నెట్టండి.
5. దిద్దుబాటు స్లీవ్ను సీలింగ్ రింగ్కు నెట్టి, అదే సమయంలో దిద్దుబాటు స్లీవ్ను తిప్పండి. దిద్దుబాటు స్లీవ్ను 1 నిమిషం వదిలిపెట్టిన తర్వాత దాన్ని తొలగించండి మరియు ఇన్స్టాలేషన్ పూర్తయింది.
గమనిక: 1. మా కంపెనీ నమూనాలో పేర్కొన్న ఉత్పత్తిని క్లోజ్డ్ గాడిలో ఇన్స్టాల్ చేయలేకపోతే, ఓపెన్ గాడికి తగినది కాకపోతే దయచేసి మా కంపెనీని సంప్రదించండి.
2. PTFE సీల్స్ యొక్క పై సంస్థాపన అన్ని PTFE ముద్రలకు వర్తించదు. అవసరమైతే దయచేసి మా కంపెనీని సంప్రదించండి.



























చిరునామా
No.1 రుయిచెన్ రోడ్, డాంగ్లియుటింగ్ ఇండస్ట్రియల్ పార్క్, చెంగ్యాంగ్ జిల్లా, కింగ్డావో సిటీ, షాన్డాంగ్ ప్రావిన్స్, చైనా
Tel
ఇ-మెయిల్