రూచెన్ సీల్స్ ఉత్పత్తి చేయగల సీలింగ్ ఉత్పత్తులలో హైడ్రాలిక్ డస్ట్ సీల్స్ ఒకటి. మీరు ఈ రకమైన ఉత్పత్తిలో వేర్వేరు నమూనాల గురించి తెలుసుకోవచ్చు మరియు నిర్మాణాత్మక కలయికలను కూడా చేయవచ్చు. అవసరమైతే, మీరు సహాయం లేదా అనుకూలీకరించిన పరిష్కారాల కోసం మమ్మల్ని సంప్రదించవచ్చు లేదా నమూనా పుస్తకాన్ని పొందటానికి మమ్మల్ని సంప్రదించవచ్చు.
RCF01 మరియు RCF02 రెండు-మార్గం ధూళి ముద్రలు, ఇవి డబుల్-లిప్ డస్ట్ సీల్ రింగ్తో కూడిన యాంటీ-వేర్ PTFE మెటీరియల్ మరియు O- ఆకారపు రబ్బరు రింగ్తో నిండి ఉన్నాయి. O- రింగ్ PTFE రింగ్ యొక్క దుస్తులు ధరించడానికి ప్రీలోడ్ శక్తిని అందిస్తుంది. మురికి లేదా చల్లని వాతావరణాలు మరియు అధిక-ఫ్రీక్వెన్సీ రెసిప్రొకేటింగ్ మోషన్ వంటి హెవీ డ్యూటీ సందర్భాలకు RCF01 అనుకూలంగా ఉంటుంది. 30 మిమీ కంటే తక్కువ షాఫ్ట్ వ్యాసాలకు స్ప్లిట్ కమ్మీలు వాడాలి. RCF02 రెసిప్రొకేటింగ్ మోషన్, స్వింగ్ లేదా స్పైరల్ మోషన్ పరిస్థితులకు అనుకూలంగా ఉంటుంది.
RCF03 అనేది PTFE మెటీరియల్ మరియు O- ఆకారపు రబ్బరు రింగ్తో నిండిన సింగిల్-లిప్ డస్ట్ స్క్రాపర్ రింగ్తో కూడిన వన్-వే డస్ట్ రింగ్. దీని పని ధూళిని తీసివేసి, వ్యవస్థ కలుషితం కాకుండా నిరోధించడం. ఇది పరస్పర కదలిక, స్వింగింగ్ లేదా స్పైరల్ మోషన్ పరిస్థితులకు అనుకూలంగా ఉంటుంది.
RCF04 మరియు RCF05 డబుల్-లిప్ డస్ట్ రింగులు, సీలింగ్ పెదవి మరియు డస్ట్ప్రూఫ్ పెదవి మరియు రెండు O- రింగులతో ప్రీలోడ్ ఎలిమెంట్స్తో కూడిన ప్రత్యేక ఆకారపు రింగ్తో కూడి ఉంటాయి, ఇవి మొత్తం సీలింగ్ను మెరుగుపరచడానికి ఉపయోగిస్తారు. ఇది దీర్ఘ జీవితం, తక్కువ ఘర్షణ, స్నిగ్ధత మరియు అధిక విశ్వసనీయత యొక్క లక్షణాలను కలిగి ఉంది. RCF04 ప్రధానంగా వ్యవసాయ యంత్రాలు, హైడ్రాలిక్ ప్రెస్లు, ఇంజెక్షన్ అచ్చు యంత్రాలు, హైడ్రాలిక్ కంట్రోల్ సిస్టమ్స్, ఫోర్క్లిఫ్ట్లు, రోలింగ్ యంత్రాలు, క్రేన్లు మరియు లోడింగ్ మరియు అన్లోడ్ యంత్రాలలో ఉపయోగిస్తారు. RCF05 ప్రధానంగా హైడ్రాలిక్ ప్రెస్లు, ఇంజెక్షన్ మోల్డింగ్ యంత్రాలు, రోలింగ్ యంత్రాలు, మెటలర్జికల్ మెషినరీ మొదలైన వాటిలో ఉపయోగించబడుతుంది. ఇది పెద్ద-వ్యాసం కలిగిన పిస్టన్ రాడ్ల డస్ట్ప్రూఫ్ సీల్స్కు ప్రత్యేకంగా అనుకూలంగా ఉంటుంది.
DHS డస్ట్ రింగ్ అనేది డ్యూయల్-ఫంక్షన్ డస్ట్ రింగ్, ఇది మంచి డస్ట్ప్రూఫ్ ఎఫెక్ట్ మరియు కొన్ని సీలింగ్ ఆయిల్ ఫిల్మ్ ఫంక్షన్ను కలిగి ఉంటుంది. పదార్థాలు అధిక-పనితీరు గల పాలియురేతేన్, నైట్రిల్ రబ్బరు మరియు ఫ్లోరోరబ్బర్.
J- ఆకారపు మరియు JA- ఆకారంలో హైడ్రాలిక్ సిలిండర్ పిస్టన్ రాడ్లు లేదా వాల్వ్ కాండం ధూళిని చిత్తు చేయడానికి ఉపయోగిస్తారు. పదార్థాలు పాలియురేతేన్ (టిపియు/సిపియు) మరియు రబ్బరు. పొడవైన కమ్మీలు మరియు ఉత్పత్తి కొలతలు మరియు సహనాలు JB/T6657-93 మరియు JB/T6656-93 కు అనుగుణంగా ఉంటాయి.
ధూళి రింగ్ GSM బాహ్య కాలుష్య కారకాలు హైడ్రాలిక్ వ్యవస్థ మరియు సీలింగ్ వ్యవస్థలో కలపకుండా నిరోధించడానికి ఉపయోగించబడుతుంది మరియు హైడ్రాలిక్ ఆయిల్ను సరళత వ్యవస్థకు బయటికి రాకుండా తిరిగి ఇవ్వగలదు, ఇది సహాయక సీలింగ్ యొక్క ప్రభావాన్ని కలిగి ఉంటుంది. పదార్థాలు నైట్రిల్ రబ్బరు, ఫ్లోరోరబ్బర్ మరియు పాలియురేతేన్.
కాలుష్య కారకాలు హైడ్రాలిక్ వ్యవస్థ మరియు సీలింగ్ వ్యవస్థలో కలపకుండా నిరోధించడానికి GP1 మరియు GP6 డస్ట్ రింగులు ఉపయోగించబడతాయి. పదార్థం నైట్రిల్ రబ్బరు NBR, మరియు ఫ్లోరోరబ్బర్ FKM అధిక ఉష్ణోగ్రత వద్ద ఎంపిక చేయబడుతుంది. GP6 ప్రధానంగా పెద్ద వ్యాసం కలిగిన పిస్టన్ రాడ్ల డస్ట్ప్రూఫ్ సీలింగ్ కోసం ఉపయోగించబడుతుంది.
ధూళి, ధూళి, ఇసుక మరియు మెటల్ చిప్స్ హైడ్రాలిక్ సిలిండర్లోకి ప్రవేశించకుండా నిరోధించడానికి AF టైప్ డస్ట్ రింగ్ ఉపయోగించబడుతుంది. స్లైడింగ్ మూలకాలలో పొందుపరిచిన బాహ్య కలుషితాల వల్ల కలిగే గీతలు ప్రమాదాన్ని తగ్గించండి. డస్ట్ప్రూఫ్ రింగ్ లిప్ యొక్క ప్రత్యేక రూపకల్పన ద్వారా అద్భుతమైన డస్ట్ప్రూఫ్ ప్రభావాన్ని సాధించవచ్చు. రింగ్ బలమైన దుస్తులు నిరోధకత, చిన్న శాశ్వత వైకల్యం మరియు బాహ్య యాంత్రిక ప్రభావానికి నిరోధకత యొక్క లక్షణాలను కలిగి ఉంది. సీలింగ్ గాడి మరియు లోహం యొక్క బయటి వ్యాసం మధ్య జోక్యం ఫిట్ను ఉపయోగించడం ద్వారా డస్ట్ప్రూఫ్ రింగ్ను అక్షసంబంధ ఓపెన్ గాడి యొక్క తగిన స్థితిలో గట్టిగా ఇన్స్టాల్ చేయవచ్చు. ఫిట్ ఫ్లష్, కాబట్టి బాహ్య కారణాల వల్ల కలిగే నష్టానికి పెదవి చాలా రక్షణగా ఉంటుంది. ఇంజనీరింగ్ కోణం నుండి, AF రకం డస్ట్ప్రూఫ్ రింగ్ తగిన సిలిండర్ హెడ్ సీలింగ్ పరికరం.
ఉత్పత్తి లక్షణాలు మరియు అనువర్తనాలు:
క్రమం ఉదాహరణ:
ఆర్డర్ మోడల్ RCF01-80-PTFE3-R01
RCF01- మోడల్ 80-షాఫ్ట్ వ్యాసం PTFE3- జనరల్ సవరించిన PTFE R01- మ్యాచింగ్ రబ్బరు మెటీరియల్ కోడ్
నైట్రిల్ రబ్బరు (ఎన్బిఆర్)-R01 ఫ్లోరోరబ్బర్ (FKM) -R02
ఆర్డర్ మోడల్ RCF02-80-PTFE3-R01
RCF02- మోడల్ 80-షాఫ్ట్ వ్యాసం PTFE3- యూనివర్సల్ సవరించిన PTFE R01- మ్యాచింగ్ రబ్బరు మెటీరియల్ కోడ్
నైట్రిల్ రబ్బరు (ఎన్బిఆర్)-R01 ఫ్లోరోరబ్బర్ (FKM) -R02
ఆర్డర్ మోడల్ RCF03-80-PTFE3-R01
RCF03- మోడల్ 80-షాఫ్ట్ వ్యాసం PTFE3- యూనివర్సల్ సవరించిన PTFE R01- మ్యాచింగ్ రబ్బరు మెటీరియల్ కోడ్
నైట్రిల్ రబ్బరు (ఎన్బిఆర్)-R01 ఫ్లోరోరబ్బర్ (FKM) -R02
ఆర్డర్ మోడల్ RCF04-80-PTFE3-R01
RCF04- మోడల్ 80-షాఫ్ట్ వ్యాసం PTFE3- యూనివర్సల్ సవరించిన PTFE R01- మ్యాచింగ్ రబ్బరు మెటీరియల్ కోడ్
నైట్రిల్ రబ్బరు (ఎన్బిఆర్) -ఆర్ 01 ఫ్లోరోరబ్బర్ (ఎఫ్కెఎం) -ఆర్ 02
ఆర్డర్ మోడల్ RCF05-80-PTFE3-R01
RCF05- మోడల్ 80-షాఫ్ట్ వ్యాసం PTFE3- జనరల్ సవరించిన PTFE RO1- మ్యాచింగ్ రబ్బరు మెటీరియల్ కోడ్
నైట్రిల్ రబ్బరు (ఎన్బిఆర్) -ఆర్ 01 ఫ్లోరోరబ్బర్ (ఎఫ్కెఎం) -ఆర్ 02
ఆర్డర్ మోడల్: DHS-130*143*8/9.5-R01 D*D1*g/h
J- రకం దుమ్ము ముద్ర
JA రకం దుమ్ము ముద్ర
GSM
దుమ్ము ముద్ర GSM ఆర్డర్ సంఖ్యతో గుర్తించబడింది, ఉదాహరణ: GSM4048 40-షాఫ్ట్ వ్యాసం D 48-GROOVE దిగువ వ్యాసం D.
Gp1
మార్కింగ్ ఉదాహరణ: gp1-70*82*4/8 మోడల్-డి*డి*ఎల్/హెచ్
Gp6
మార్కింగ్ పద్ధతి: gp6-70*80.6*5.3/7 మోడల్-డి*డి*ఎల్/హెచ్
యొక్క
DKB
లక్షణాలు
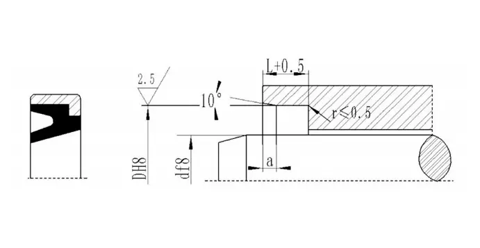
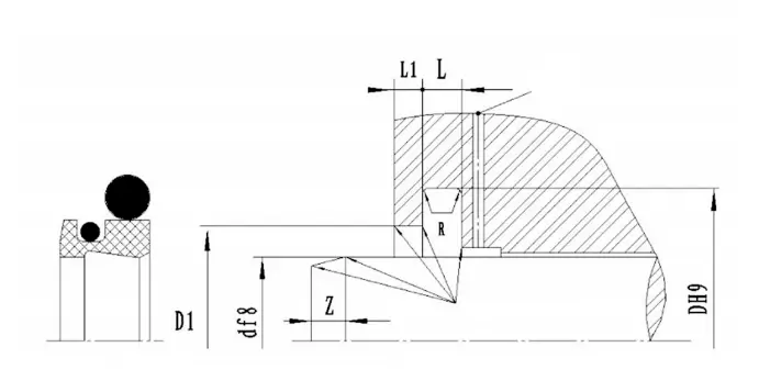
RCF01| షాఫ్ట్ వ్యాసం పరిధి d f8 |
గాడి వ్యాసం D H9 |
గాడి వెడల్పు L+0.2 |
ఓపెన్ హోల్ వ్యాసం డి1H11 | ఓపెన్ హోల్ వెడల్పు a≥ |
గుండ్రని మూలలు R≤ |
ఓ-రింగ్ వైర్ వ్యాసం డిO |
| 19 ~ 39 | d+7.6 | 4.2 | d+1.5 | 3 | 0.8 | 2.65 |
| 40 ~ 69 | d+8.8 | 6.3 | d+1.5 | 3 | 0.8 | 2.65 |
| 70 ~ 139 | d+12.2 | 8.1 | D+2.0 | 4 | 0.8 | 3.55 |
| 140 ~ 399 | d+16.0 | 9.5 | d+2.5 | 5 | 1.5 | 5.30 |
| 400 ~ 649 | D+24.0 | 14.0 | d+2.5 | 8 | 1.5 | 7.00 |
| 650 ~ 1500 | D+27.3 | 16.0 | d+2.5 | 10 | 2.0 | 8.60 |
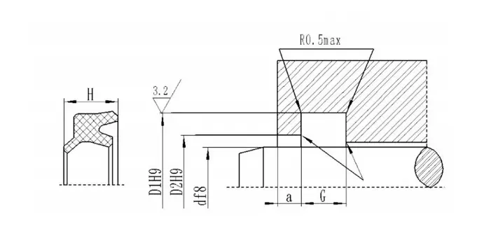
| షాఫ్ట్ వ్యాసం పరిధి d f8 |
గాడి వ్యాసం D H9 |
గాడి వెడల్పు L+0.2 |
ఓపెన్ హోల్ వ్యాసం డి1H11 | ఓపెన్ హోల్ వెడల్పు a≥ |
గుండ్రని మూలలు R≤ |
ఓ-రింగ్ వైర్ వ్యాసం డిO |
| 4 ~ 11 | d+4.8 | 3.7 | d+1.5 | 2 | 0.4 | 1.80 |
| 12 ~ 64 | d+6.8 | 5.0 | d+1.5 | 2 | 0.7 | 2.65 |
| 65 ~ 250 | d+8.8 | 6.0 | d+1.5 | 3 | 1.0 | 3.55 |
| 251 ~ 420 | d+12.2 | 8.4 | D+2.0 | 4 | 1.5 | 5.30 |
| 421 ~ 650 | d+16.0 | 11.0 | D+2.0 | 4 | 1.5 | 7.00 |
| 651 ~ 1500 | d+20.0 | 14.0 | d+2.5 | 5 | 2.0 | 8.60 |
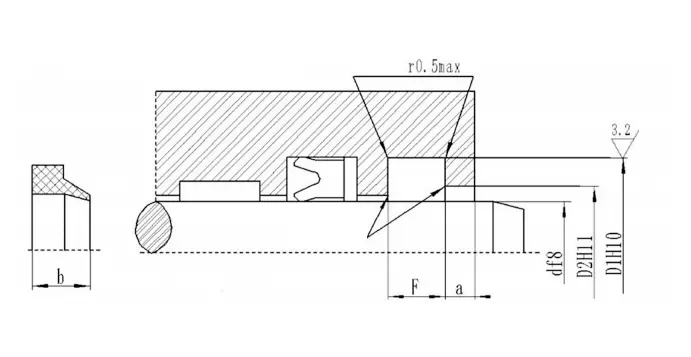
| షాఫ్ట్ వ్యాసం పరిధి d f8 |
గాడి వ్యాసం DH9 |
దశ వ్యాసం D1 H11 |
గాడి వెడల్పు L+0.2 |
మొత్తం వెడల్పు ఎల్ 1 |
గుండ్రని మూలలు Rmax |
చామ్ఫర్ పొడవు Zmin |
| 20 ~ 39.9 | d+7.6 | d+1 | 4.2 | 8.2 | 0.4 | 3 |
| 40 ~ 69.9 | d+8.8 | d+1.5 | 6.3 | 10.3 | 1.2 | 4 |
| 70 ~ 139.9 | d+12.2 | D+2.0 | 8.1 | 12.1 | 2 | 6 |
| 140 ~ 399.9 | d+16.0 | D+2.0 | 11.5 | 15.5 | 2 | 8 |
| 400 ~ 649.9 | D+24.0 | d+2.5 | 15.5 | 19.5 | 2 | 10 |
| 650 ~ 1000 | D+27.3 | d+2.5 | 18.0 | 23.0 | 2 | 12 |
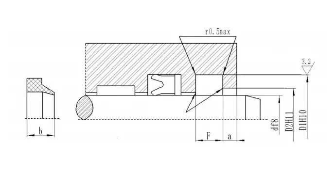
| షాఫ్ట్ వ్యాసం పరిధి d f8 |
గాడి వ్యాసం DH9 |
దశ వ్యాసం D1 H11 |
గాడి వెడల్పు L+0.2 |
సైడ్ వెడల్పు ఎల్ 1 |
గుండ్రని మూలలు Rmax |
చామ్ఫర్ పొడవు Zmin |
| 100 ~ 229 | D+22.2 | d+10.7 | 6.3 | 4.2 | 1.2 | 6 |
| 230 ~ 299 | d+24.2 | d+10.7 | 6.3 | 4.2 | 1.2 | 8 |
| 300 ~ 629 | D+33.0 | d+15.1 | 8.1 | 6.3 | 1.2 | 10 |
| 630 ~ 1000 | D+36.5 | d+15.1 | 9.5 | 6.3 | 2 | 12 |
| ఉత్పత్తి సంఖ్య | d | డి 1 | H | G+0.3 | డి 2 | a |
| DHS 12 | 12 | 20 | 6 | 5 | 16.3 | 2 |
| DHS 14 | 14 | 22 | 6 | 5 | 18.3 | 2 |
| DHS 16 | 16 | 24 | 6 | 5 | 20.3 | 2 |
| DHS 18 | 18 | 26 | 6 | 5 | 22.3 | 2 |
| DHS 20 | 20 | 28 | 6 | 5 | 24.3 | 2 |
| DHS 22 | 22 | 30 | 6 | 5 | 26.3 | 2 |
| DHS 25 | 25 | 33 | 6 | 5 | 29.3 | 2 |
| DHS 28 | 28 | 36 | 6 | 5 | 32.3 | 2 |
| DHS 30 | 30 | 38 | 6.5 | 6 | 34 | 2 |
| DHS 32 | 32 | 40 | 6.5 | 6 | 36 | 2 |
| DHS 35 | 35 | 43 | 6.5 | 6 | 39 | 2 |
| DHS 38 | 38 | 46 | 6.5 | 6 | 42 | 2 |
| DHS 40 | 40 | 48 | 6.5 | 6 | 44 | 2 |
| DHS 45 | 45 | 53 | 6.5 | 6 | 49 | 2 |
| DHS 48 | 48 | 56 | 6.5 | 6 | 52 | 2 |
| DHS 50 | 50 | 58 | 6.5 | 6 | 54 | 2 |
| DHS 55 | 55 | 63 | 6.5 | 6 | 59 | 2 |
| DHS 56 | 56 | 64 | 6.5 | 6 | 60 | 2 |



























































చిరునామా
No.1 రుయిచెన్ రోడ్, డాంగ్లియుటింగ్ ఇండస్ట్రియల్ పార్క్, చెంగ్యాంగ్ జిల్లా, కింగ్డావో సిటీ, షాన్డాంగ్ ప్రావిన్స్, చైనా
Tel
ఇ-మెయిల్